哪吒给跨境卖家的启示录:潮玩IP出海生存法则
内容转载自:青枫法务
《哪吒之魔童闹海》82亿票房!已经登顶中国内地影史票房榜冠军
哪吒也开始和各种国漫IP疯狂联名,各种周边也火的不行,品牌效应已经逐步显现



目前一般来说,手办好不好卖,就得看电影票房高不高
当时《哪吒之魔童降世》(下简称《哪吒1》)的官方曾在摩点发起众筹,和国内知名的“末那”工作室推出小哪吒、敖丙、申公豹、李靖夫妇等一众主要角色的形象手办,定价188元/个。这定价直接给《哪吒1》创下超1500万的众筹佳绩


(点击可查看大图)
现在全球潮玩市场仍然处于高速发展阶段,根据弗若斯特沙利文报告,全球潮玩零售市场规模预计2024 年将达到 448 亿美元。

(图源潮玩出海)
不少卖家嗅到这个商机,纷纷为自家产品申请外观专利,提前做好知产布局。也有一些卖家通过仿制、自制等方式,在各个电商平台出售假冒正版的手办模型从中获利,但这种行为肯定是违法的:

(河北某公司与韩某等侵害作品发行权纠纷民事一审案件民事判决书)


(大家还记得这个全球限量款高达吗?)
除了版权,IP的商标也是卖家知产布局的必争之地。
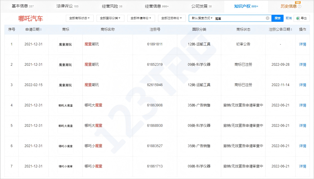
再次以《哪吒》IP为例,合众汽车在2019年和电影《哪吒之魔童降世》合作,开拓了名为“哪吒”的新能源汽车品牌

2020年,光线影业注册了“魔童哪吒”等一系列商标;2022年,哪吒汽车也相继注册“哪吒小魔童”、“魔童潮玩”等近似商标,并成功下证

这个举动惹怒了光线影业,并向国家知识产权局提出申请,要求无效哪吒汽车名下的擦边商标

哪吒汽车也开始反击:要求无效光线影业的“魔童哪吒”商标,理由是:你明知我和你做生意,卖哪吒汽车,还注册相关商标,就是恶意注册!

这场商标大战的结果则是:光线影业胜

随着《哪吒之魔童闹海》的热映,光线影业继续为这个金字招牌申请33个商标,哪吒汽车再度对光线影业的33个商标提出异议
这次哪吒汽车反对有效,但不多,光线影业的32个商标成功注册,而运输类目的商标仍在审查阶段

这俩企业之间的商标之战,也给卖家们敲响警钟:商标就是品牌的名片,必须提前印好!
根据中研普华产业研究院《2024-2029年玩具产业现状及未来发展趋势分析报告》分析:潮玩市场的发展仍呈上升趋势

(图源中研网)
目前潮玩已经是IP变现的核心方式,迪士尼、乐高、万代南梦宫等知名公司都通过玩具品类实现了IP衍生收入的快速增长。
迪士尼的法务部热衷于打假侵权产品,近几年《火影忍者》、《波比的游戏时间》、《索尼克》等IP也通过维权的方式,防止侵权产品分流正版潮玩的市场份额,保证自己能从 IP 衍生的潮玩业务中获取应有收入。

如果大家想跨境卖手办,除了要根据IP所具有的文化属性,迎合当地消费者的文化认同,还要找正规的代理商拿货。
以《哪吒》IP为例:
现在《哪吒》所有的主要角色版权均属于成都可可豆动画影视有限公司

公司制作好手办后,就会授权给潮玩族、名创优品等门店代理销售,如果你也想在自己店铺卖哪吒手办,可以找代理拿货,这样就能规避侵权问题

如果你是初创的玩具企业,也要将核心品牌在第 28 类玩具及相关类别(如第 9 类(电子玩具相关电子元件)、第 16 类(玩具包装、说明书)、第 25 类(玩具娃娃服装)等)进行全面的商标注册,防止他人在不同类别上抢注,造成品牌混淆。
如果你有出口或国际化发展的计划,就要根据目标市场国家或地区,通过马德里商标国际注册体系或逐一国家注册的方式,在重点国家和地区进行商标注册。
大家在开拓海外玩具市场的同时,要注意规避所售产品的知识产权问题,小编整理出潮玩IP防御侵权三件套,大家可以用起来:
1.侵权风险自测工具
[点击领取]告诉运营,收藏这份知识产权查询懒人包!
2.《企业国际化经营合规指引:跨境电商知识产权篇》.pdf
3.2024潮玩及其衍生品系列团体标准.pdf
本文地址:http://www.lainuan.cn/archives/858
以上内容源自互联网,由跨境助手整理汇总,其目的在于收集传播生活技巧,行业技能,本网站不对其真实性、可靠性承担任何法律责任。如发现本站文章存在版权问题,烦请提供版权疑问、侵权链接、联系方式等信息发邮件至candieraddenipc92@gmail.com,我们将及时处理。
